


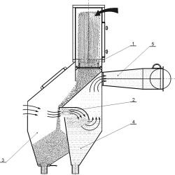
Rys. 4. Schemat pracy separatorów zanieczyszczeń: a)-separator śrutu powietrzny jednostopniowy, b)-separator śrutu powietrzny dwustopniowy, c)-separator magnetyczno-powietrzny.
Wirniki oczyszczarek mają określoną wydajność wyrażoną w masie śrutu wyrzucanego z wirnika w jednostce czasu. Jeśli ma się do czynienia ze stosunkowo mało zanieczyszczonymi powierzchniami odlewów wówczas energia kinetyczna pojedynczego ziarna nie ma takiego znaczenia, natomiast istotniejszym czynnikiem przyspieszającym proces oczyszczania jest liczba uderzeń śrutu w jednostce czasu. Ten ostatni czynnik jest związany bezpośrednio z ziarnistością śrutu. Przy stałej masowej wydajności wirnika liczba uderzeń śrutu w jednostce czasu rośnie ze zmniejszającą się średnicą ziaren.
Przy doborze należy również uwzględnić fakt, że:
• śrut o dobrych własnościach skrawających decydujących o dużej wydajności i skuteczności oczyszczania, jest jednocześnie bardzo agresywny w stosunku do części roboczych oczyszczarki szczególnie do elementów zespołów rzutowych,• śrut o dobrych własnościach skrawających posiada mniejszą trwałość, wyrażoną ilością przejść przez wirnik rzutowy oczyszczarki,
• kształt ziarna śrutu decyduje o profilu chropowatości oczyszczonej powierzchni: śrut kulisty powoduje powstawanie czasz, natomiast śrut łamany tworzy powierzchnię o ostrych zębach często podciętych.
Badania właściwości śrutu
Zakres badań obejmuje: trwałość, wielkość i kształt ziaren, twardość i gęstość właściwą. Jedną z podstawowych cech eksploatacyjnych jest trwałość śrutu. Wskaźnik trwałości śrutu określa ilość przejść śrutu przez wirnik doświadczalnej oczyszczarki aż do osiągnięcia określonej końcowej frakcji ziarna. Badany śrut wyrzucany z wirnika oczyszczarki uderza o płytę wykonaną zwykle z hartowanej stali i wraca do ponownego obiegu. Wskaźnik trwałości śrutu bywa zwykle określany jako ilość przejść śrutu przez wirnik do momentu, w którym ziarnistość rzeczywistą ma 50% badanej ilości śrutu. Badania ziarnistości sprowadzają się do określenia wymiarów i zawartości frakcji na drodze analizy sitowej. Wyznacza się ziarnistość rzeczywistą, określoną jako wymiar oczka sita, na którym pozostaje minimum 80, 85% lub 90% badanej próbki śrutu. Badanie ziarnistości przeprowadza się zwykle na próbce o masie min. 100 g, przy czasie przesiewania wynoszącym 5 minut. Badania twardości prowadzi się najczęściej metodą Vickersa, a niekiedy Rockwella lub Knoppa. Badanie gęstości śrutu odlewanego ma na celu określenie udziału tzw. pustych ziaren. Gęstość właściwą ziarn śrutu można określić przez ważenie i pomiar objętości ziaren przez wyparcie cieczy np. alkoholu metylowego. Badanie struktury przeprowadza się normalnymi metodami metalograficznymi, inkludując ziarna śrutu w żywicy. Efekty śrutowania ocenia się na podstawie oceny powierzchni oczyszczanych wyrobów, ubytkiem masy czyszczonych próbek oraz na podstawie próby Almena. Próba ta polega na poddawaniu działaniu śrutu znormalizowanych pasków blachy. Pod wpływem uderzeń śrutu pasek blachy ulega odkształceniu. Wysokość ugięcia blachy jest miarą efektu śrutowania.






