• ReklamaA1 - silpol v2

Szukaj

    ReklamaB1 - EcoLine 04.2021-12.2025 Bogumiła

    Artykuły branżowe

    Wydanie nr: 1(75)/2012

    Artykuły branżowe

    Przygotowanie Powierzchni

    ponad rok temu  01.01.2012, ~ Administrator,   Czas czytania 5

    Strona 3 z 3

    Są jeszcze dalej idące rozwiązania mające na celu zmniejszenie ilości drobnych cząstek w ścierniwie. Podstawowa możliwość polega na tym, że górna część przenośnika kubełkowego jest poddawana ciągłemu zasysaniu. Ze względu na intensywne ruchy ścierniwa, powodowane przez zrzut ścierniwa z kubełków na blachę poślizgową stacji uzdatniania ścierniwa, powstaje dużo pyłu. Inne rozwiązanie jest oferowane klientom jako opcja, nie jest jednak zawarte w standardowym zakresie usług. Mowa o zapytaniu o podciśnienie. Zapytanie takie umożliwia sprawdzenie podciśnienia w separatorze ścierniwa i jest wysyłane z szafy rozdzielczej lub stanowiska operatora panelu obsługowego.

    1114zabezpieczenie_004.jpg

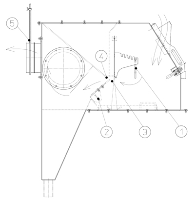
    Separator powietrzny w przekroju:

    1) Przeciwciężar przy klapie wahliwej, służący do ustawiania szerokości warstwy ścierniwa.

    2) Warstwa ścierniwa.

    3) Szczelina separatora powietrznego.

    4) Zasuwa regulacyjna szczeliny separatora powietrznego.


    Mnogość możliwości optymalizacji oczyszczania ścierniwa podkreśla znaczenie tego aspektu dla jakości procesu obróbki strumieniowo-ściernej oraz jego wpływ na cykle konserwacji i koszty prac konserwacyjnych. Wiele z tych punktów można uwzględnić przy zakupie urządzenia. Jeśli eksploatowana jest starsza oczyszczarka strumieniowo-ścierna z wirnikiem rzutowym, należy sprawdzić czy wszystkie możliwości ustawień zostały wyczerpane. Informacje na ten temat powinny być zawarte w dobrze napisanej instrukcji obsługi.


    Ulf Kapitza

    E-mail: info@agtos.de

    Internet: www.agtos.de