- system czujników składający się z trzech czujników zbliżeniowych i elektronicznego układu sterowania został zaprojektowany, aby zapewnić optymalną obróbkę strumieniowo-ścierną. Badania wskazały, że ten system może wyłączyć obróbkę strumieniowo-ścierną, gdy uzyska się czystość powierzchni taką jak oczekiwano, a system sterowania może sterować dwoma kompletami czujników jednocześnie dla dwóch oczyszczarek
- obróbka strumieniowo-ścierna sprzężona z czujnikami i kurtyną wiatrową głowicy czyszczącej (bezpyłowej) wykazała, że wydajność produkcyjna układu piaskowania próżniowego można zwiększyć znacznie bardziej za pomocą użytych w prototypie czujników
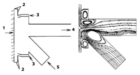
- przetestowano prototypową podciśnieniową głowicę czyszczącą w celu wyboru odpowiedniego kąta nachylenia strumienia ściernego dla zwiększenia tempa produkcji i sprawności kurtyny powietrznej zapobiegającej wylatywaniu ścierniwa w miejscu styku szczotki z powierzchnią oczyszczaną, jak również zapewniającej "łatwość obsługi głowicy czyszczącej".


Tab. 2. Wynik testu porównawczego wydajności głowic czyszczących.
Główne wyniki badań głowicy czyszczącej są następujące:
- kąt obróbki 95° okazał się najlepszy. Jednak, ze względu na większą łatwość wytwarzania kąta pionowego obróbki (90°), zaleca się go dla konstrukcji głowicy. Głównym powodem jest to, że łatwiejsze jest zasysane śrutów do ponownego obiegu przez strumień powietrza ssącego głowicy czyszczącej, gdy dostarczane jest ścierniwo w kierunku pionowym do powierzchni
- skuteczniejszy jest pierścień szczotkowy, ponieważ może się poruszać płynnie zarówno na płycie stalowej, jak i po betonowej ścianie
- sprawność głowicy z kurtyną powietrzną również jest lepsza
- głowicę czyszczącą z prostopadłym strumieniem czyszczącym łatwo przenosić, co jest korzystne dla pracownika
- wydajność zmodernizowanej konstrukcji została zwiększona o ponad 50% w stosunku do technologii wyjściowej (111% na płycie stalowej lakierowanej i 83% na malowanym betonie).

Rys. 1. Geometria bazowej głowicy czyszczącej z osłoną powietrzną: 1 - ściana, 2 - odstęp między ścianą a dyszą do obróbki strumieniowo-ściernej, 3 - iniekcja ciśnienia, 4 - odsysanie zużytego ścierniwa, 5 - gniazdo dyszy strumieniowo-ściernej.
Średnie i duże prototypy głowic czyszczących z kurtyną powietrzna są pokazane na fotografii 11 i 12.






